Equipotential busbar for EX zone 1/21, 2/22

Item no. 5015265 | EAN 4012196427628

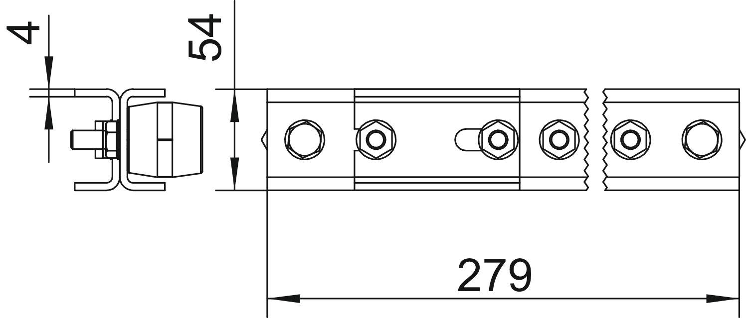
54 mm
4 mm
Product description
Product description
For ignition spark-free protection/functional equipotential bonding to DIN VDE 0100-410/-540 as well as ignition spark-free lightning protection equipotential bonding to VDE 0185-305 (IEC 62305) in systems to VDE 0165-1 (IEC/ EN 60079-14)


• Use in potentially explosive areas, Ex zone 1 and 2/21 and 22

• Tested according to explosion group IIC

• Lightning current carrying capacity class H (100 kA) to VDE 0185-561-1 (IEC/EN 62561-1)

• UV-resistant and halogen-free insulation feet

• With spring washer for locking screws against self-loosening to VDE 0185-305-3 Supplementary sheet 2

• Suitable for indoor and outdoor applications
  • Lightning current-tested
  • CO₂ footprint (PCF)
  • Packaging without plastic
  • Packaging made entirely from recycled cardboard
Technical data

Technical data

CO2 Footprint (GWP) Cradle-to-Gate 7,7523 kg CO2e / 1 Piece
Dimension 5xM10
Height 4 mm
Insulator yes
Length 279 mm
Lightning current carrying capacity H/100 kA
Material Stainless steel 1.4301
Material of the contact rail Rustproof steel (V2A)
Material of the terminal Rustproof steel (V2A)
Number of connections 5
Quantity of flat conductor connections up to 40 mm 1
Quantity of round conductor connections, total 5
Type Fixed structure
Version for Only terminal
Width 54 mm
All types

All types

Types Length Width Height Number of connections Item no. Quantity SSU
EX PAS 5 279 mm 54 mm 4 mm 5 5015265
1 piece
EX PAS 10 441 mm 54 mm 4 mm 10 5015270
1 piece
Downloads

Download

EU declaration of conformity EX PAS 5 / 5015265 , 0.11MB , pdf
Download
REACH Declaration of conformity EX PAS 5 / 5015265 , 0.12MB , pdf
RoHS Declaration of conformity EX PAS 5 / 5015265 , 0.13MB , pdf

No invitation to tender text is available for this product.